DCM
 
 
Tel: +86-571-86625003
Email1: info@optictrans.com
Email2: kally@optictrans.com
WhatsApp: +86 13967163428
Skype: hightech086
 
 
Keyword:
 
  Products
OPR-1004HJ 1GHz Outdoor optical workstation 2RX 1TX Module
   Content
Description
OPR-1004HJ 1G field station is our latest smart Optical workstation, highest frequency upgrade to 1GHz, built-in micro-computer intelligent control circuits. Balanced output and output level achieve a full electric adjustment System, and provide an intuitive LCD operating Panel and GB II class answers Interface.
 
Performance feature
(1) CPU controls the whole machine, LCD display the parameters, such as input and output levels. Variable control is easy and performance is stable.
(2) Advanced AGC function. Output level is unchanged and CTB, CSO is essentially the same when optical power input is changed (-8-+2dBm).
(3) Two-channel optical signal receive, backing up each other, set auto-switching condition arbitrarily, also can set manual switch.
(4) Line optimal design and SMT production process are useful for optimized signal channel, fluid optical signal transmission and higher RF linear index.
(5) Professional RF electronic   control ATT chip, RF ESC balanced line, good linear and high accuracy.
(6) GaAs amplifier device, double power output, high gain, low distortion.
(7) Uplink adopt professional RF EQ ATT chip instead of three state switches.
(8) Connect to the network management responder; access the network management system by reserving data communication interface. So that variables can remote control by network management.
 
Technical data
Item
Unit
Parameter
Forward path
Optical parameter
Received optical power
dBm
-9~+2
Recommended range
dBm
-3~+1
Optical return loss
dB
>45
Optical wavelength
nm
1100~1600
Optical connector  type
 
FC/APC、SC/APC(or specified by the user)
Optical fiber type
 
Single-mode
Link parameter
C/N
dB
≥ 51
C/CTB
dB
≥ 65
C/CSO
dB
≥ 60
RF Parameter
Frequency range
MHz
45/85~1003
Flatness in band
dB
±0.75
Nominal output level
dBμV
≥ 108
Max output level
dBμV
≥ 112
Output return loss
dB
≥16
Output impedance
Ω
75
Return Path Optical Parameter
Optical emission wave
nm
1310±10
Laser type
 
FP or DFB
Output optical power
dBm
0.5~4
Optical connector type
 
FC/APC, SC/APC (or specified by the user)
RF Parameter
Frequency range
MHz
5 ~ 65 (or specified by the user)
Link flatness
dB
±0.75
Input level
dBμV
75~85
Input return loss
dB
≥16
Output impedance
Ω
75
Noise power ratio (NPR)dynamic range
dB
≥10 (NPR≥30 dB)
Common feature
power supply
V
A:AC 135~250 V/50Hz; B:AC(DC)35~90V/50Hz
Operation Temperature
-30~+70
Storing temperature
-30~+70
Relative humidity
%
Max.95% No condensation
Power Consumption
VA
≤70
Size
mm
430(L)x 250(W)x 170(H)
 
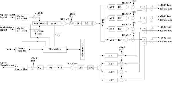
Block diagram
 
Hangzhou OpticTrans Communication Tech. Co., LTD.
Copyright © 2011-2017 杭州奥全通信技术有限公司

工业和信息化部备案管理系统网站 浙ICP备11039329号-1

浙公网安备33010602005244号